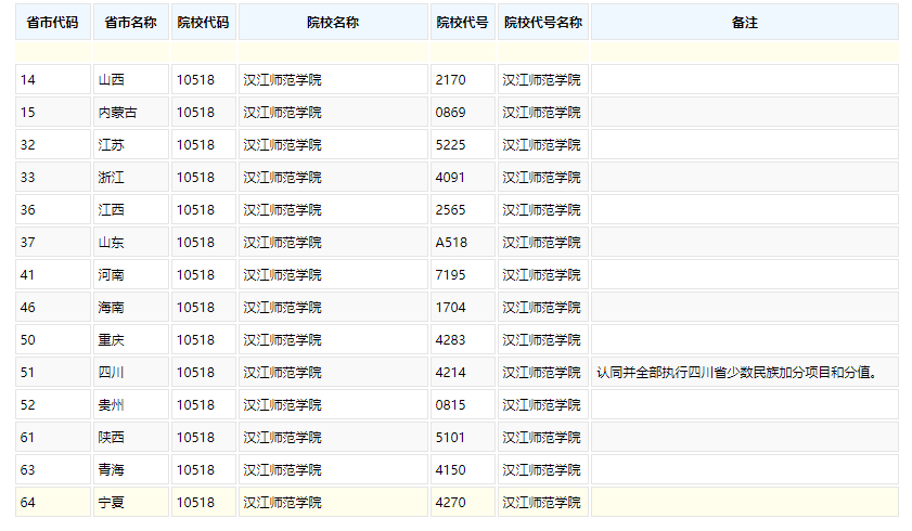
来源:williamhill官网网站 时间:2023-05-22 10:42:43 作者: 点击:
上一条:2023年公司在各省招生代号
版权所有 williamhill(中文)官方网站-Official Website 地址:湖北省十堰市北京南路18号williamhill官网网站 办公室电话:0719-8846038